空气开关(断路器)用途
空气开关,又名断路器。是一种只要电路中电流超过额定电流就会自动断开的开关。空气开关是低压配电网络和电力拖动系统中非常重要的一种电器,它集控制和多种保护功能于一身。除能完成接触和分断电路外,还能对电路或电气设备发生的短路、严重过载及欠电压等进行保护,同时也可以用于不频繁地启动电动机。
空气开关(断路器)实物图


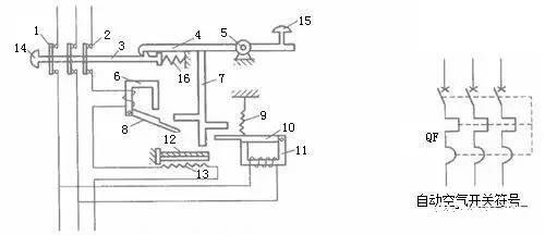
空气开关(断路器)结构图


内部主要部件有
辅助触头:与断路器主电路分、合机构机械上连动的触头,主要用于断路器分、合状态的显示,接在断路器的控制电路中通过断路器的分合,对其相关电器实施控制或联锁。
报警触头:用于断路器事故的报警触头,且此触头只有当断路器脱扣分断后才动作,主要用于断路器的负载出现过载短路或欠电压等故障时而自由脱扣,报警触头从原来的常开位置转换成闭合位置。
分励脱扣器:分励脱扣器是一种用电压源激励的脱扣器,它的电压与主电路电压无关。分励脱扣器是一种远距离操纵分闸的附件。
欠电压脱扣器:欠电压脱扣器是在它的端电压降至某一规定范围时,使断路器有延时或无延时断开的一种脱扣器

外部主要部件有
电动操作机构:这是一种是用于远距离自动分闸和合闸断路器的一种附件,电动操作机构有电动机操作机构和电磁铁操作机构两种。
转动操作手柄:适用于塑壳断路器,在断路器的盖上装转动操作手柄的机构。
加长手柄:是一种外部加长手柄,直接装于断路器的手柄上,一般用于600A及以上的大容量断路器上,进行手动分合闸操作。
手柄闭锁装置:是在手柄框上装设卡件,主要用于断路器处于合闸


空气开关(断路器)的原理

空气开关(断路器)的分类
根据空气开关的极数分为:单极、二极、三极、四挤等。实物分别如下




空气开关(断路器)的主要参数
额定工作电压(Ue):断路器在正常(不间断的)的情况下工作的电压。
额定电流(In):断路器在规定的环境温度下所能无限承受的最大电流值。
短路继电器脱扣电流整定值(Im):短路脱扣继电器(瞬时或短延时)用于高故障电流值出现时,使断路器快速跳闸,其跳闸极限Im。
额定短路分断能力(Icu或Icn):断路器的额定短路分断电流是断路器能够分断而不被损害的最高(预期的)电流值。
短路分断能力(Ics):断路器的额定分断能力分为额定极限短路分断能力和额定运行短路分断能力两种。
空气开关(断路器)的电路符号



空气开关(断路器)的实物接线图




转载请注明来自广东雷正电气,本文地址://www.zhupinjia.com/cpzs/7888.html 除非注明,广东雷正电气文章均为原创,转载请注明出处和链接!





